LOGO
© STULZ GmbH

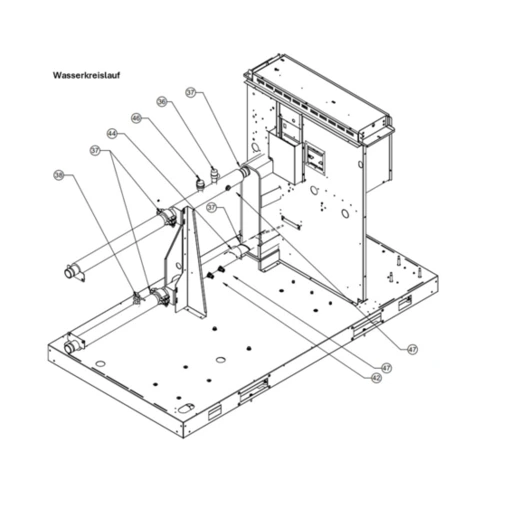
E: Wasserkreislauf

Bestellcode: SAL240RS2A-S

Servicecode: SAL240RS2A-S/1

E: Wasserkreislauf
Position Bezeichnung Materialnummer
36 Sicherheitsventil C74500002 20005083
37 Victaulicverbindung C8860057 20009303
42 Fühler C51110013 20009250
44 Begleitheizung C87310029 20009310
46 Schnellentlüfter C7460200 20005084